Компания Volvo запатентовала систему, позволяющую использовать машины в странах с правосторонним и левосторонним движением.
Система скользящего рулевого колеса Volvo с электронным управлением разработана для полуавтономного автомобиля и позволяет человеку управлять машиной с любого переднего сиденья.
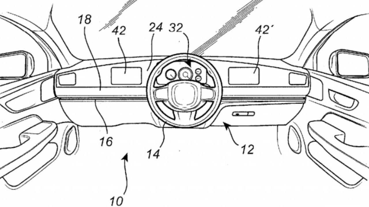
Рулевая колонка, расположенной на ней с небольшой панелью приборов, перемещается по специальным направляющим и может располагаться даже по центру – для удобства управления сиденья также могут смещаться влево-вправо. В качестве основной «приборки» используются три монитора.
А что же с педалями и коробкой передач? В Volvo и об этом подумали: тормоз и акселератор активируются благодаря чувствительным датчикам в полу, а селектор КПП как и руль сдвигается по направляющим.
Когда эта новаторскую идею внедрят в серийные модели шведы пока не сообщают. Самая идея сдвижного руля не являются новой. Похожей системой оснащается Mercedes-Benz Unimog. ЗР
Никогда такого не было: Volvo начал производство нового кроссовера















